KNOT Embedded LTE4 — это миниатюрный, но мощный промышленный LTE-шлюз, разработанный для интеграторов, специалистов по автоматизации и разработчиков IoT-систем. Он помещается в ограниченном пространстве, устанавливается непосредственно на DIN-рейку и обеспечивает надежное соединение LTE Cat4 с поддержкой Bluetooth и GNSS.

Используйте его в качестве основного шлюза, резервного канала или узла сбора данных IoT — все работает на базе RouterOS для максимальной гибкости.
Промышленное решения для подключения LTE/BLE/GNSS, подходящие для любых условий. Изначально разработаны для кофемашин и торговых автоматов – идеально подходят для всех видов промышленной автоматизации.
Независимо от того, создаете ли вы новую систему или добавляете LTE к существующей, KNOT Embedded LTE4 легко адаптируется. Он прост в интеграции, легко развертывается и создан для работы в суровых условиях — от внедрения в системах «умного города» до промышленной автоматизации и мобильного отслеживания.
Характеристики:
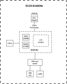
- Product codeEC25-EU&KNe
- ArchitectureARM 32bit
- CPUCPU ARM 32-bit Cortex A7 up to 1.2 GHz
- CPU core count1
- CPU nominal frequency1200 MHz
- RouterOS license3
- Operating SystemRouterOS v7
- Size of RAM256 MB
- Storage size512 MB
- Storage typeNAND
- MTBFApproximately 100'000 hours at 25C
- Tested ambient temperature-40°C to 70°C
- Number of DC inputs2 (PoE-IN, USB-C)
- Max power consumption7 W
- Max power consumption without attachments7 W
- PoE in802.3af/at
- Cooling typePassive
- PoE in input Voltage12-57 V
- USB C input Voltage5 V
- 2G CategoryClass12
- 2G bands3 (1800MHz)
8 (900MHz) - 3G CategoryR8 (42.2Mbps Downlink, 5.76Mbps Uplink)
- 3G bands1 (2100MHz)
8 (900MHz) - LTE Category4 (150Mbps Downlink, 50Mbps Uplink)
- MIMO DL2x2
- MIMO UL1x1
- LTE FDD bands1 (2100MHz)
3 (1800MHz)
7 (2600MHz)
8 (900 MHz)
20 (800MHz)
28A (700 MHz) - LTE TDD bands38 (2600MHz)
40 (2300MHz)
41 (2500MHz) - TAC86554604
- 10/100/1000 Ethernet ports1
- Number of 1G Ethernet ports with Reverse PoE (PoE-in)1
- Number of SIM slots1 Modem (Nano SIM)
- CPU temperature monitorYes
- Bluetooth version5.1
- GPS RF connector typeSMA
- eSIMYes
- CertificationCE, EAC, ROHS
- IP20
| EC25-EU&KNe | EC25-EU one port test | ||||||
| Mode | Configuration | 1518 byte | 512 byte | 64 byte | |||
| kpps | Mbps | kpps | Mbps | kpps | Mbps | ||
| Bridging | none (fast path) | 80.2 | 973.9 | 217.4 | 890.5 | 222 | 113.7 |
| Bridging | 25 bridge filter rules | 67.5 | 819.7 | 68.5 | 280.6 | 69.3 | 35.5 |
| Routing | none (fast path) | 80.2 | 973.9 | 226.1 | 926.1 | 233.8 | 119.7 |
| Routing | 25 simple queues | 66.3 | 805.1 | 66.8 | 273.6 | 75.1 | 38.5 |
| Routing | 25 ip filter rules | 47.5 | 576.8 | 47.5 | 194.6 | 47.5 | 24.3 |
- All tests are done with Xena Networks specialized test equipment (XenaBay),and done according to RFC2544 (Xena2544)
- Max throughput is determined with 30+ second attempts with 0,1% packet loss tolerance in 64, 512, 1518 byte packet sizes
- Test results show device maximum performance, and are reached using mentioned hardware and software configuration, different configurations most likely will result in lower results
- Наличными
- Банковской картой
- Безналичный расчет через банк
